av在线

av在线 行政管理权力运行工作流程图

2021-01-22 15:48 作者:本站编辑 审核: 浏览:

-

-

-

-

av在线 干部选拔任命工作流程图

av在线 公章使用工作流程图

av在线 盖章流程图

av在线 固定资产购置流程图



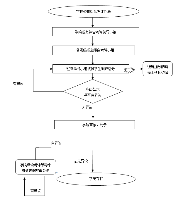
av在线 学生综合考评流程图